
MIL-DTL-55535A
Inches
mm
0.12
3.05
0.25
6.35
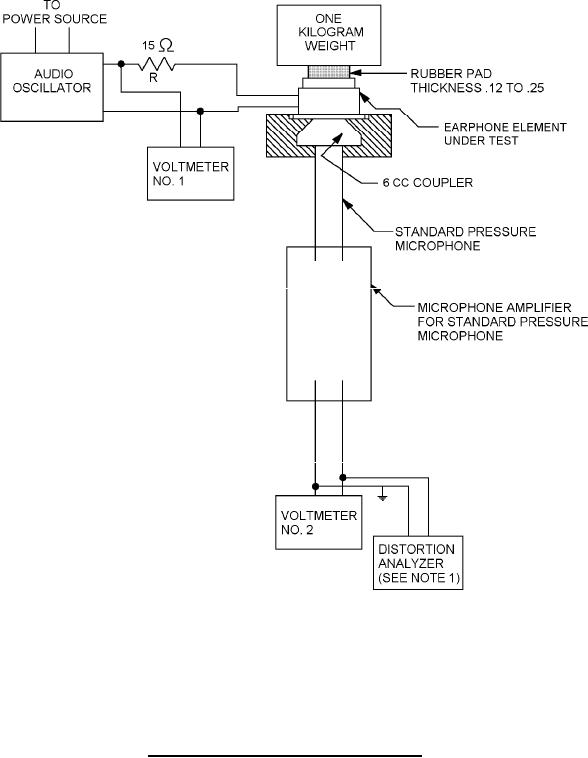
NOTES:
1. Distortion analyzer required for distortion test only.
2. Dimensions are in inches. Unless otherwise specified, tolerances shall be ± .015 inch.
3. Metric equivalents are given for information only.
FIGURE 5. Earphone frequency response test circuit.
17
For Parts Inquires call Parts Hangar, Inc (727) 493-0744
© Copyright 2015 Integrated Publishing, Inc.
A Service Disabled Veteran Owned Small Business